Close
PreComp Specifications
The Radial PreComp is a straight-ahead channel strip that combines an ultra clean preamp with a high performance VCA compressor. With a wonderfully linear response from 20Hz to 20kHz and a noise floor below 120dB, the PreComp is able to accurately reproduce signals upwards to +24dB without concern. On the compression side, the response curves demonstrate consistency at all signal levels along with a smooth transition as compression ratios are increased. This confirms that the PreComp is perfectly capable of delivering dependable, distortion-free performance that is sure to please the most demanding professional.
Specifications
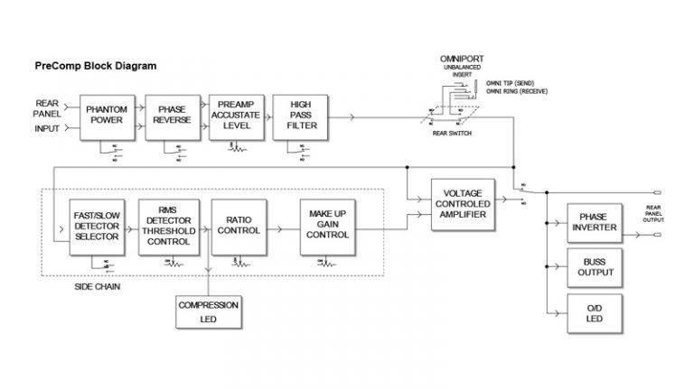
Block Diagram
Graphs
| Specifications | ||
|---|---|---|
| Audio circuit type: | Accustate input with true variable gain front end. | |
| Frequency response: | 20Hz ~ 20kHz (-1.5dB @ 20Hz) | |
| Dynamic range: | 112dB | |
| Gain: | 55dB | |
| Total harmonic distortion: | <0.003% | |
| Intermodulation Distortion: | 0.03% | |
| Input Impedance: | 3.3kOhms | |
| Output Impedance: | 300 Ohms | |
| Equivalent Input Noise: | -120dBu | |
| Noise Floor: | -85dB @ +40dB of gain | |
| Maximum Input: | +24dBu | |
| Features | ||
| 180° polarity reverse, HPF, Phantom Power, OmniPort | ||
| Extras: | Up to +25dB make up gain | |
| General | ||
| Size (L x W x D): | 9" x 6.25" x 2" (228 x 159 x 51mm) | |
| Weight: | 1.5lbs (0.7Kg) | |
| Power: | 56mA | |
| Conditions: | For use in dry locations only between 5°C and 40°C | |
| Warranty: | Radial 3-year, transferable | |
Frequency Response
What do these graphs mean? Learn what to look for and why it matters.
Learn More






